Page 21 - คู่มือการปฏิบัติงานบริการวิชาการ
P. 21
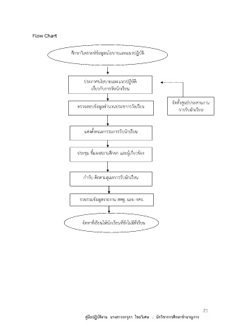
Flow Chart
ศึกษาวิเคราะห์ข้อมูลนโยบายและแนวปฏิบัติ
ประกาศนโยบายและแนวปฏิบัต ิ
เกี่ยวกับการรับนักเรียน
ตรวจสอบข้อมูลจ านวนประชากรวัยเรียน จัดตั้งศูนย์ประสานงาน
การรับนักเรียน
แต่งตั้งคณะกรรมการรับนักเรียน
ประชุม ชี้แจงสถานศึกษา และผู้เกี่ยวข้อง
ก ากับ ติดตามดูแลการรับนักเรียน
รวบรวมข้อมูลรายงาน สพฐ. และ กศจ.
จัดหาที่เรียนให้นักเรียนที่ยังไม่มีที่เรียน
21
คู่มือปฏิบัติงาน นางสาวจารุภา ไชยวิเศษ : นักวิชาการศึกษาช านาญการ

