Page 20 - คู่มือ.doc
P. 20
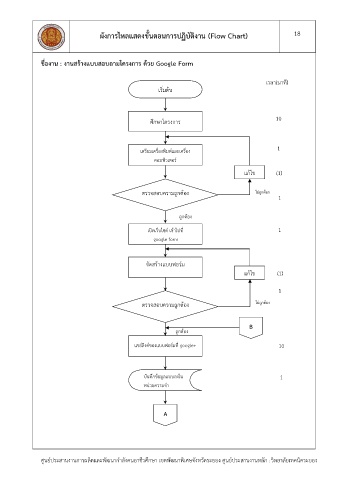
ผังการไหลแสดงขั้นตอนการปฏิบัติงาน (Flow Chart) 18
ชื่องาน : งานสร้างแบบสอบถามโครงการ ด้วย Google Form
เวลา(นาที)
เริ่มต้น
10
ศึกษาโครงการ
เตรียมเครื่องพิมพ์และเครื่อง 1
คอมพิวเตอร์
แก้ไข (1)
ตรวจสอบความถูกต้อง ไม่ถูกต้อง
1
ถูกต้อง
เปิดเว็บไซด์ เข้าไปที่ 1
google form
จัดสร้างแบบฟอร์ม
แก้ไข (1)
1
ตรวจสอบความถูกต้อง ไม่ถูกต้อง
ถูกต้อง B
แชร์ลิงค์ของแบบฟอร์มที่ google+ 10
บันทึกข้อมูลแบบลงใน 1
หน่วยความจ า
A
ศูนย์ประสานงานการผลิตและพัฒนาก าลังคนอาชีวศึกษา เขตพัฒนาพิเศษจังหวัดระยอง ศูนย์ประสานงานหลัก : วิทยาลัยเทคนิคระยอง

