Page 386 - คู่มือนิสิต ปีการศึกษา 2563
P. 386
คู่มือนิสิตระดับปริญญาตรี วิทยาลัยสงฆ์ขอนแก่น | 375
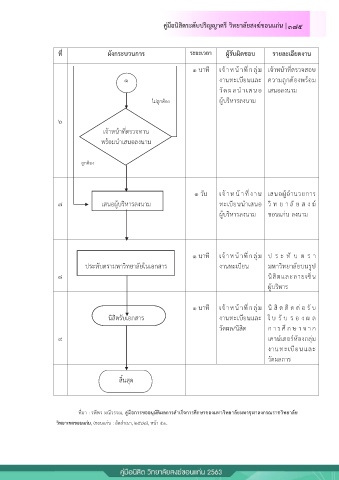
จำกแนวทำงกำรขออนุมัติผลกำรส ำเร็จกำรศึกษำและขึ้นทะเบียนบัณฑิตออนไลน์ทั้งใน ที่ ผังกระบวนการ ระยะเวลา ผู้รับผิดชอบ รายละเอียดงาน
้
ระดับปริญญำตรี โท และเอก ไดน ำเสนอกระบวนกำรขอใบรับรองผลกำรศึกษำ กลุ่มงำนทะเบียนและ
ั
ุ
ั
วัดผล ส ำนักวิชำกำร มหำวิทยำลยมหำจฬำลงกรณรำชวิทยำลย วิทยำเขตขอนแกน เพอใช้เป็นข้อมูล ๑ นำที เจ้ำหน้ำที่กลุ่ม เจ้ำหน้ำที่ตรวจสอบ
ื่
่
ี
ส ำเร็จกำรศึกษำ ดังนี้ ๑ งำนทะเบยนและ ควำมถูกต้องพร้อม
วัดผลนำเสนอ เสนอลงนำม
กระบวนการขอใบรับรองผลการศึกษา ไม่ถูกต้อง ผู้บริหำรลงนำม
ที่ ผังกระบวนการ ระยะเวลา ผู้รับผิดชอบ รายละเอียดงาน ๖
๑ วัน ส ำนักวิชำกำร กลุ่มงำนทะเบียน เจ้ำหน้ำที่ตรวจทำน
้
เริ่มต้น วิ ท ย ำ เ ข ต แล ะ วั ด ผ ล แจ ง พร้อมน ำเสนอลงนำม
ขอนแก่น กระบวนกำร
๑ ถูกต้อง
นำที
๒
ิต
นิส
นิ สิ ต ก ร อ ก
กรอกค ำร้องขอใบรับรอง รำยละเอียดใบคำ
ผลกำรศึกษำ ร้องจำกกลุ่มงำน ๑ วัน เจ้ำห น้ ำที่ งำน เสนอผู้อ ำนวยกำร
ทะเบียนและวัดผล ๗ เสนอผู้บริหำรลงนำม ทะเบียนน ำเสนอ วิ ท ย ำ ลั ย ส ง ฆ์
นิสิต/เจ้ำหน้ำที่ ช ำระคำธรรมเนยม ผู้บริหำรลงนำม ขอนแก่น ลงนำม
ี
่
ั
๒ ช ำระค่ำธรรมเนียม ๓๐ บำท ๒ นำที กลุ่มงำนกำรเงิน กำรขอใบรบรองผล
ที่งำนกำรเงิน กำรศึกษำที่กำรเงิน
ั
๑ นำที นิสิต/เจ้ำหน้ำที่ ยื่ น ค ำ ร้ อ ง ข อ ๑ นำที เจ้ำหน้ำที่กลุ่ม ปร ะ ท บต ร ำ
ู
ั
ยื่นค ำร้อง/พร้อมใบเสร็จที่ กลุ่มงำนทะเบียน ใ บ รับ รอ ง ผ ล ประทับตรำมหำวิทยำลัยในเอกสำร งำนทะเบียน มหำวิทยำลยบนรป
๓ งำนทะเบียนและวัดผล และวัดผล กำรศึกษำที่กลุ่มงำน ๘ นิสิตและลำยเซ็น
ทะเบียน ผู้บริหำร
ไม่ผ่ำน ๑ นำที เจ้ำหน้ำที่กลุ่ม เจ้ำหน้ำที่ตรวจสอบ
ี
เจ้ำหน้ำที่งำน งำนทะเบยนและ ควำมถูกต้องของค ำ ๑ นำที เจ้ำหน้ำที่กลุ่ม นิ สิ ต ติ ด ต่ อ รั บ
ี
บริกำรและตรวจสอบ วัดผล รองและกำรช ำระ นิสิตรับเอกสำร งำนทะเบยนและ ใ บ รับ รอ ง ผ ล
้
ึ
เงินว่ำถูกต้องหรือไม่ วัดผล/นิสิต ก ำร ศ ก ษ ำ จ ำก
ผ่ำน หำกไม่ถูกต้องส่งคืน ๙ เคำน์เตอร์ห้องกลุ่ม
ี
๔ นิสิตเพอด ำเดินกำร งำนทะเบยนและ
ื่
แก้ไขให้ถูกต้อง วัดผลกำร
ิ
๓ นำที เจ้ำหน้ำที่กลุ่ม เจ้ำหน้ำที่จัดพมพ ์
ี
๕ จัดพิมพ์ใบรับรอง งำนทะเบยนและ ใ บ รับ รอ ง ผ ล สิ้นสุด
วัดผล กำรศึกษำ
๑
ุ
ที่มา : รพีพร มณวรรณ, คู่มือการขออนมัตผลการส าเร็จการศึกษาของมหาวิทยาลัยมหาจุฬาลงกรณราชวิทยาลัย
ิ
ี
วิทยาเขตขอนแก่น, (ขอนแก่น : อัดส าเนา, ๒๕๖๒), หน้า ๕๑.

