Page 92 - myPortfolio PTPO N22
P. 92
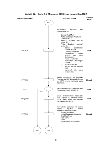
Aktiviti 22: Carta Alir Mengurus MOU Luar Negara Dan MOA
TEMPOH
TANGGUNGJAWAB PROSES KERJA MASA
MULA
Menyediakan dokumen dan
maklumat berikut:
- Borang MoU/MoA.
- Kertas Cadangan Kolaborasi.
- Draf MoU/MoA.
- Ranking Syarikat/ Institusi/
Universiti.
- Profail Syarikat/ Institusi/
Universiti.
- Salinan pendaftaran
PPT N36 - syarikat di SSM. 3 hari
Lembaga Pengarah.
- Pengalaman dalam
bidang yang ingin
dilaksanakan.
- Tahun penubuhan.
- Kedudukan kewangan
syarikat.
- Mode of payment.
- Mempunyai bon ataupun
tidak.
- Maklumat lain yang
bersesuaian.
Hantar permohonan ke Bahagian
Perundangan (BPUU) untuk dibawa
PPT N36 ke JKPU beserta maklumat yang 30 minit
diperlukan.
JKPU Kelulusan Mesyuarat Jawatankuasa 3 jam
TIDAK Pengurusan Universiti (JKPU).
YA
BPUU memaklumkan keputusan
JKPU kepada PTj menerusi memo
Pengarah (minit JKPU akan dikemukakan 3 hari
oleh setiausaha JKPU).
Memuatnaik dokumen di dalam
sistem MyUPSI Portal
>Admin>Collaboration iaitu:
- Borang MoU/MoA.
PPT N36 - Kertas Cadangan Kolaborasi. 30 minit
- Draf MoU/MoA.
- Minit JKPU.
- Profail
Syarikat/Institusi/Universiti.
SAMB. SAMB.
91

