Page 31 - คู่มือ.doc
P. 31
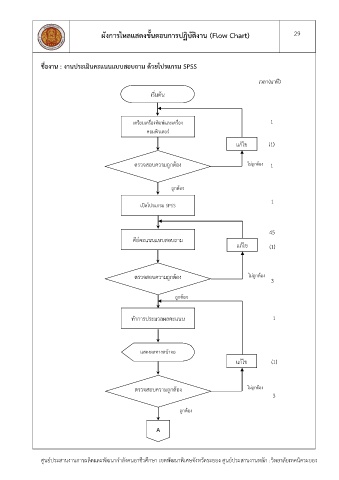
ผังการไหลแสดงขั้นตอนการปฏิบัติงาน (Flow Chart) 29
ชื่องาน : งานประเมินคะแนนแบบสอบถาม ด้วยโปรแกรม SPSS
เวลา(นาที)
เริ่มต้น
เตรียมเครื่องพิมพ์และเครื่อง 1
คอมพิวเตอร์
แก้ไข (1)
ตรวจสอบความถูกต้อง ไม่ถูกต้อง 1
ถูกต้อง
1
เปิดโปรแกรม SPSS
45
คีย์คะแนนแบบสอบถาม
แก้ไข (1)
ตรวจสอบความถูกต้อง ไม่ถูกต้อง
3
ถูกต้อง
ท าการประมวลผลคะแนน 1
แสดงผลทางหน้าจอ
แก้ไข (1)
ตรวจสอบความถูกต้อง ไม่ถูกต้อง
3
ถูกต้อง
A
ศูนย์ประสานงานการผลิตและพัฒนาก าลังคนอาชีวศึกษา เขตพัฒนาพิเศษจังหวัดระยอง ศูนย์ประสานงานหลัก : วิทยาลัยเทคนิคระยอง

