Page 32 - คู่มือ.doc
P. 32
30
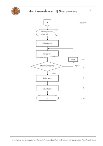
ผังการไหลแสดงขั้นตอนการปฏิบัติงาน (Flow Chart)
A เวลา(นาที)
บันทึกข้อมูลแบบลงใน 1
หน่วยความจ า
1
สั่งพิมพ์เอกสาร
พิมพ์เอกสาร
แก้ไข (1)
ตรวจสอบความถูกต้อง ไม่ถูกต้อง
3
ถูกต้อง
จัดเก็บเอกสาร 3
เก็บเครื่องมือ 2
จบการท างาน 65(4)
จบ
ศูนย์ประสานงานการผลิตและพัฒนาก าลังคนอาชีวศึกษา เขตพัฒนาพิเศษจังหวัดระยอง ศูนย์ประสานงานหลัก : วิทยาลัยเทคนิคระยอง

