Page 9 - คู่มือ.doc
P. 9
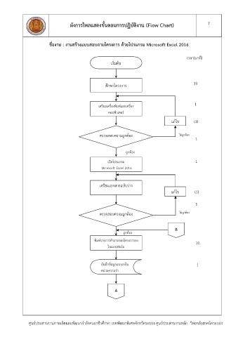
ผังการไหลแสดงขั้นตอนการปฏิบัติงาน (Flow Chart) 7
ชื่องาน : งานสร้างแบบสอบถามโครงการ ด้วยโปรแกรม Microsoft Excel 2016
เวลา(นาที)
เริ่มต้น
10
ศึกษาโครงการ
เตรียมเครื่องพิมพ์และเครื่อง 1
คอมพิวเตอร์
แก้ไข (1)
ตรวจสอบความถูกต้อง ไม่ถูกต้อง
1
ถูกต้อง
เปิดโปรแกรม 1
Microsoft Excel 2016
เตรียมเอกสารฉบับร่าง
แก้ไข (1)
1
ตรวจสอบความถูกต้อง ไม่ถูกต้อง
ถูกต้อง B
พิมพ์รายการค าถามของโครงการลง 10
ในแบบฟอร์ม
บันทึกข้อมูลแบบลงใน 1
หน่วยความจ า
A
ศูนย์ประสานงานการผลิตและพัฒนาก าลังคนอาชีวศึกษา เขตพัฒนาพิเศษจังหวัดระยอง ศูนย์ประสานงานหลัก : วิทยาลัยเทคนิคระยอง

