Page 250 - 31. MODUL SRT
P. 250
SULIT SOALAN MIRIP SPM SET 3
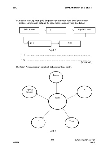
14. Rajah 6 menunjukkan peta alir proses penyerapan hasil akhir pencernaan
protein. Lengkapkan peta alir itu pada ruang jawapan yang disediakan.
Asid Amino ( i ) Kapilari Darah
( ii ) Hati
Rajah 6
( i ) : ………………………………………………………………………………
( ii ) : ………………………………………………………………………………
[ 2 markah ]
15. Rajah 7 menunjukkan peta buih bahan membuat pastri.
Lemak
Tepung X
Gandum
Pastri
Y Telur
Rajah 7
245 [Lihat halaman sebelah
3769/1 SULIT

