Page 139 - BUKU PENGURUSAN 2020
P. 139

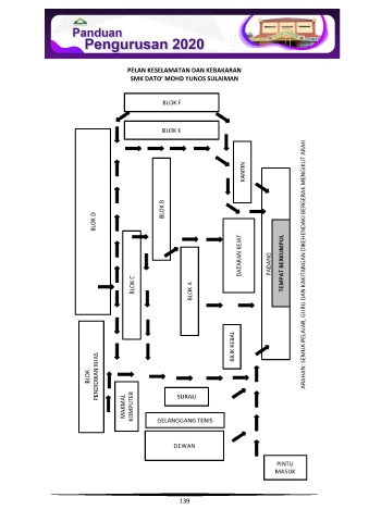
PELAN KESELAMATAN DAN KEBAKARAN
                                           SMK DATO’ MOHD YUNOS SULAIMAN































































                                                           139
   134   135   136   137   138   139