Page 131 - Buku Pengurusan KVDSMZ 2021
P. 131
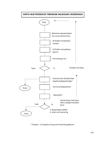
CARTA ALIR PROSEDUR TINDAKAN SALAHLAKU SEDERHANA
Mula
Menerima laporan/aduan
kes secara bertulis/lisan
JK Disiplin menjalankan
siasatan
JK Disiplin menyediakan
laporan
Pertimbangan kes
Tidak Ya Tindakan berulang
Hukuman dan dimaklumkan
kepada ibubapa/penjaga*
Sesi kaunseling/nasihat
Tamat
Rekod/fail*
Jika berulang 3 kali akan
dikira sebagai kesalahan
Tidak Ya berat
a. Rekod dalam SSDM*
b. Jalani sesi kaunseling
Tamat
* Tindakan : JK Disdiplin/ Pensyarah Pembimbing/Mentor
126

