Page 164 - PKB DRAF - pengurusan sekolah 2018 TERKINI - Copy
P. 164
PENGURUSAN SEKOLAH 2018 LAMPIRAN
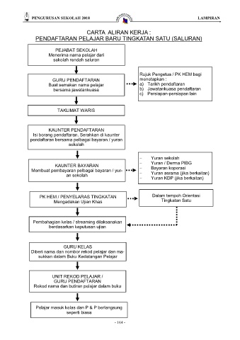
CARTA ALIRAN KERJA :
PENDAFTARAN PELAJAR BARU TINGKATAN SATU (SALURAN)
PEJABAT SEKOLAH
Menerima nama pelajar dari
sekolah rendah saluran
Rujuk Pengetua / PK HEM bagi
GURU PENDAFTARAN menetapkan :
a) Tarikh pendaftaran
Buat semakan nama pelajar
bersama jawatankuasa b) Jawatankuasa pendaftaran
c) Persiapan-persiapan lain
TAKLIMAT WARIS
KAUNTER PENDAFTARAN
Isi borang pendaftaran. Serahkan di kaunter
pendaftaran bersama pelbagai bayaran / yuran
sekolah
Yuran sekolah
Yuran / Derma PIBG
KAUNTER BAYARAN
Membuat pembayaran pelbagai bayaran / yur- Bayaran koperasi
Yuran asrama (jika berkaitan)
an sekolah
Yuran KDP (jika berkaitan)
PK HEM / PENYELARAS TINGKATAN Dalam tempoh Orientasi
Mengadakan Ujian Khas Tingkatan Satu
Pembahagian kelas / streaming dilaksanakan
berdasarkan keputusan ujian
GURU KELAS
Diberi nama dan nombor rekod pelajar dan ma-
sukkan dalam Buku Kedatangan Pelajar
UNIT REKOD PELAJAR /
GURU PENDAFTARAN
Rekod nama dan butiran pelajar dalam buku
Pelajar masuk kelas dan P & P berlangsung
seperti biasa
- 164 -

