Page 158 - PKB DRAF - pengurusan sekolah 2018 TERKINI - Copy
P. 158
PENGURUSAN SEKOLAH 2018 LAMPIRAN
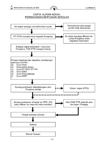
CARTA ALIRAN KERJA :
PERMOHONAN BERTUKAR SEKOLAH
Ibu bapa/ penjaga memaklumkan tujuan Permohonan oleh pelajar
sendiri tidak dibenarkan
PT/ PTR memaklumkan kepada Pengetua Ibu bapa /penjaga dibawa ber-
jumpa Pengetua untuk
dapatkan kebenaran
Selepas dapat kebenaran / kelulusan
Pengetua, PAR /PTR mengisi borang
Pelajar berjumpa dan dapatkan tandatangan
guru-guru berikut :
a) Guru kelas
b) Setiausaha Sukan
c) Guru KT/ ERT/ PT/ PK
d) Guru Sains
e) Guru Perpustakaan
f) Guru SPBT
Borang pertukaran ditandatangani oleh
Pengetua sahaja Dalam negeri (PPD)
Borang pertukaran dihantar ke PPD/ JPN Oleh PAR/ PTR sekolah atau
(satu salinan ibu bapa d& rekod sekolah) Ibu bapa / Penjaga
Pelajar bertukar sekolah
Selesai
Rekod/ Simpan
- 158 -

