Page 127 - คู่มือส่งเสริมและพัฒนากิจกรรมลูกเสือทักษะชีวิตในสถานศึกษา ประเภทลูกเสือสำรอง และดาวดวงที่ 3 ชั้นประถมศึกษาปีที่ 3
P. 127
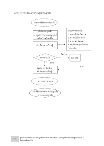
แนวทางการประเมินผลการเรียนรู้กิจกรรมลูกเสือ การประเมินกิจกรรมลูกเสือ มี 2 แนวทาง คือ
1. การประเมินกิจกรรมลูกเสือรายกิจกรรมมีแนวปฏิบัติดังนี้
ื
1.1 ตรวจสอบเวลาเข้ารวมกิจกรรมของลกเสอให้เป็นไปตามเกณฑทสถานศึกษา
่
ู
่
ี
์
แผนการจัดกิจกรรมลูกเสือ กําหนด
ี
1.2 ประเมินกิจกรรมการเรยนรจากการปฏบตกิจกรรมและผลงาน / ชนงาน /
ั
ิ
ิ
้
ิ
ู
้
เกณฑ์การประเมิน คุณลักษณะของผู้เรียนตามเกณฑ์ที่สถานศึกษากําหนดด้วยวิธีการที่หลากหลาย เน้นการมีส่วนร่วม
จัดกิจกรรมลูกเสือ
ตามคู่มือการจัดกิจการลูกเสือที่ 1. เวลาเข้าร่วมกิจกรรม ในการปฏิบัติกิจกรรม
เสริมสร้างทักษะชีวิต 2. การปฏิบัติกิจกรรม 1.3 ลูกเสือที่มีเวลาการเข้าร่วมกิจกรรม มีการปฏิบัติกิจกรรมและผลงาน / ชิ้นงาน /
ึ
3. ผลงาน / ชิ้นงาน คุณลักษณะตามเกณฑ์ที่สถานศกษากําหนดเปนผู้ผ่านการประเมินรายกิจกรรมและนําผลการ
็
ประเมินผลการเรียนรู้ 4. พฤติกรรม/คุณลักษณะ ประเมินไปบันทึกในระเบียนแสดงผลการเรียน
ของลูกเสือ 1.4 ลูกเสือที่มีผลการประเมินไม่ผ่านในเกณฑ์เวลาการเข้าร่วมกิจกรรม การปฏบัติ
ิ
กิจกรรมและผลงาน / ชิ้นงาน / คุณลักษณะตามที่สถานศึกษากําหนด ผู้กํากับลูกเสือต้องดําเนินการ
ไม่ผ่าน ซ่อมเสริมและประเมินจนผ่าน ทั้งนี้ควรดําเนินการให้เสร็จสิ้นในปีการศึกษานั้นๆ ยกเว้นมีเหตุสุดวิสัย
ผลการประเมิน ซ่อมเสริม ให้อยู่ในดุลพินิจของสถานศึกษา
ผ่าน 2. การประเมินกิจกรรมลูกเสือเพื่อการตัดสินใจ
ผ่าน การประเมินกิจกรรมลูกเสือเพื่อตัดสินควรได้รับเครื่องหมายและเลื่อนระดับทาง
ี
็
สรุปผลการประเมิน/ ลูกเสือและจบการศึกษาเป็นการประเมินการผ่านกิจกรรมลูกเสือเปนรายป / รายภาค / เพื่อสรุปผล
ตัดสินผลการเรียนรู้ การผ่านในแต่ละกิจกรรม สรุปผลรวมเพื่อสรุปผลการผ่านในแต่ละกิจกรรม สรุปผลรวมเพื่อเลื่อนชั้น
่
้
ุ
ื
ระดับลกเสอและประมวลผลรวมในปีสดทายเพื่อการจบแตละระดับการศึกษา โดยการดําเนินการ
ู
ดังกล่าวมีแนวทางปฏิบัติ ดังนี้
ิ
รายงาน / สารสนเทศ 2.1 กําหนดให้มีผรบผดชอบในการรวบรวมข้อมูลเกียวกับการเข้าร่วมกิจกรรม
้
่
ั
ู
ลูกเสือของลูกเสือทุกคนตลอดระดับการศึกษา
2.2 ผู้รับผิดชอบสรุปและตัดสินใจผลการร่วมกิจกรรมลูกเสือของลูกเสือเปน
็
จัดพิธีประดับเครื่องหมายลูกเสือ รายบุคคล รายหมู่ ตามเกณฑ์ที่สถานศึกษากําหนด
ตามประเภทลูกเสือ
เกณฑ์การตัดสิน
ั
์
้
ึ
้
้
ู
1. กําหนดเกณฑการประเมินตามหลกสตรแกนกลางการศกษาขันพืนฐานกําหนดไว
2 ระดับ คือ ผ่าน และ ไม่ผ่าน
2. เกณฑ์การตัดสินผลการประเมินรายกิจกรรม
ผ่าน หมายถึง ลูกเสือมีเวลาเข้าร่วมกิจกรรมครบตามเกณฑ์ ปฏิบัติกิจกรรมและมีผลงาน
/ ชิ้นงาน / คุณลักษณะตามเกณฑ์ที่สถานศึกษากําหนด
ไม่ผ่าน หมายถึง ลูกเสือมีเวลาเข้าร่วมกิจกรรมไม่ครบตามเกณฑ์ ไม่ผ่านการปฏบัติ
ิ
กิจกรรมหรือมีผลงาน / ชิ้นงาน / คุณลักษณะไม่เป็นไปตามเกณฑ์ที่สถานศึกษากําหนด
3. เกณฑ์การตัดสินผลการประเมินกิจกรรมลูกเสือรายปี / รายภาค
คู่มือส่งเสริมและพัฒนากิจกรรมลูกเสือทักษะชีวิตในสถานศึกษา ลูกเสือส ารอง ชั้นประถมศึกษาปีที่ 3 127
126 คู่มือส่งเสริมและพัฒนากิจกรรมลูกเสือทักษะชีวิตในสถานศึกษา ลูกเสือส ารอง ชั้นประถมศึกษาปีที่ 3
118 คู่มือส่งเสริมและพัฒนากิจกรรมลูกเสือทักษะชีวิตในสถานศึกษา ประเภทลูกเสือสำารอง หลักสูตรดวงดาวที่ 3
ชั้นประถมศึกษาปีที่ 3

