Page 167 - คู่มือส่งเสริมและพัฒนากิจกรรมลูกเสือทักษะชีวิตในสถานศึกษา ประเภทลูกเสือสามัญ หลักสูตรลูกเสือตรี ชั้นประถมศึกษาปีที่ 4
P. 167
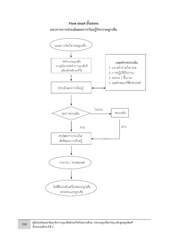
Flow chart ขั้นตอน 4. เกณฑ์การตัดสิน
แนวทางการประเมินผลการเรียนรู้กิจกรรมลูกเสือ 4.1 กําหนดเกณฑ์การประเมินตามหลักสูตรแกนกลางการศึกษาขั้นพื้นฐานกําหนดไว้ 2 ระดับ
คือผ่าน และ ไม่ผ่าน
4.2 เกณฑ์การตัดสินผลการประเมินรายกิจกรรม
ิ
ั
์
่
ิ
แผนการจัดกิจกรรมลูกเสือ ผ่าน หมายถง ลกเสอมีเวลาเข้ารวมกิจกรรมครบตามเกณฑ ปฏบตกิจกรรมและมี
ึ
ู
ื
ผลงาน / คุณลักษณะตามเกณฑ์ที่สถานศึกษากําหนด/ ชิ้นงาน
ไม่ผ่าน หมายถึง ลูกเสือมีเวลาเข้าร่วมกิจกรรมไม่ครบตามเกณฑ์ ไม่ผ่านการปฏิบัติ
จัดกิจกรรมลูกเสือ เกณฑ์การประเมิน 4.3 เกณฑ์การตัดสินผลการประเมินกิจกรรมลูกเสือรายปี / รายภาค
ตามคู่มือการจัดกิจการลูกเสือที่ 1. เวลาเขาร่วมกิจกรรม
้
่
ํ
ื
่
ู
เสริมสร้างทักษะชีวิต ผาน หมายถึง ลูกเสอมีผลการประเมินระดับ “ผาน” ในกิจกรรมสาคัญตามหลักสตร
2. การปฏิบัติกิจกรรม ลูกเสือแต่ละประเภทกําหนดรวมถึงหลักสูตรลูกเสือทักษะชีวิต
้
3. ผลงาน / ชนงาน ไม่ผ่าน หมายถง ลกเสือมีผลการประเมินระดับ “ไม่ผ่าน” ในกิจกรรมสําคัญที่หลักสูตร
ิ
ึ
ู
4. คุณลักษณะที่พึงประสงค ์
ประเมินผลการเรียนรู้ ลูกเสือแต่ละประเภทกําหนดและลูกเสือทักษะชีวิต
4.4 เกณฑ์การตัดสินผลการประเมินกิจกรรมลูกเสือเพื่อจบหลักสูตรลูกเสือแต่ละประเภทเป็นรายชั้นป ี
ู
ุ
”
ื
ั
ผ่าน หมายถง ลกเสอมีผลการประเมินระดับ ผ่าน “ทกชนปีในระดับการศึกษานั้น
ึ
้
ไม่ผ่าน หมายถึง ลูกเสือมีผลการประเมินระดับ “ไม่ผ่าน” บางชั้นปีในระดับการศึกษานั้น
ไม่ผ่าน )หมายเหตุ การประเมินผลอาจเขียนแยกการประเมินผลแต่ละกิจกรรม หรือเขียนรวมการ
ผลการประเมิน ซ่อมเสริม ประเมินรวบยอดกิจกรรมลูกเสือที่มีพฤติกรรมต่อเนื่องหรือเมื่อสิ้นสุดกิจกรรมรายปี(
ผ่าน ผ่าน เอกสารอ้างอิง
กระทรวงศึกษาธิการ. หลักสูตรแกนกลางการศึกษาขั้นพื้นฐาน พุทธศักราช 2551.
สรุปผลการประเมิน/ กรุงเทพมหานคร : โรงพิมพ์ชุมนุมสหกรณ์การเกษตรแห่งประเทศไทย จํากัด.
ตัดสินผลการเรียนรู้
2551.
รายงาน / สารสนเทศ
จัดพิธีประดับเครื่องหมายลูกเสือ
ตามประเภทลูกเสือ
คู่มือส่งเสริมและพัฒนากิจกรรมลูกเสือทักษะชีวิตในสถานศึกษา ประเภทลูกเสือสามัญ หลักสูตรลูกเสือตรี
158 คู่มือส่งเสริมและพัฒนากิจกรรมลูกเสือทักษะชีวิตในสถานศึกษา ลูกเสือตรี ชั้นประถมศึกษาปีที่ 4 165 166 คู่มือส่งเสริมและพัฒนากิจกรรมลูกเสือทักษะชีวิตในสถานศึกษา ลูกเสือตรี ชั้นประถมศึกษาปีที่ 4
ชั้นประถมศึกษาปีที่ 4

