Page 114 - คู่มือส่งเสริมและพัฒนากิจกรรมลูกเสือทักษะชีวิตในสถานศึกษา ประเภทลูกเสือสำรอง และดาวดวงที่ 2 ชั้นประถมศึกษาปีที่ 2
P. 114
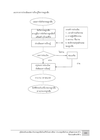
ใบความร ู ้ แนวทางการประเมินผลการเรียนรู้กิจกรรมลูกเสือ
การประเมินกิจกรรมลูกเสือ แผนการจัดกิจกรรมลูกเสือ
1.การประเมินผลการเรียนรู้ตามแนวทางหลักสูตรแกนกลางการศึกษาขั้นพื้นฐาน 2551
็
หลักสูตรแกนกลางการศึกษาขั้นพื้นฐาน กําหนดให้กิจกรรมลูกเสือเปนกิจกรรมที่มุ่งปลูกฝัง จัดกิจกรรมลูกเสือ เกณฑ์การประเมิน
ี
่
ิ
์
่
ระเบยบวนัยและกฎเกณฑเพือการอยูรวมกัน รจกการเสยสละ บาเพ็ญประโยชน์แก่สงคมและ ตามคู่มือการจัดกิจการลูกเสือที่ 1. เวลาเข้าร่วมกิจกรรม
ี
ั
ั
ํ
ู
่
้
ดําเนินวิถีชีวิตในระบอบประชาธิปไตย ตลอดจนมีทักษะชีวิตเป็นภูมิคุ้มกันปัญหาสังคมตามช่วงวัยของ เสริมสร้างทักษะชีวิต 2. การปฏิบัติกิจกรรม
ลูกเสือ 3. ผลงาน / ชิ้นงาน
็
การจัดกิจกรรมลูกเสือยังต้องเปนไปตามข้อบังคับของสํานักงานลูกเสือแห่งชาติและ ประเมินผลการเรียนรู้ 4. พฤติกรรม/คุณลักษณะ
สอดคล้องกับหลักสูตรแกนกลางการศึกษาขั้นพื้นฐานอีกด้วย ของลูกเสือ
ไม่ผ่าน
แนวทางการประเมินผลกิจกรรมลูกเสือ
กิจกรรมลูกเสือเป็นกิจกรรมนักเรียนที่ลูกเสือทุกคนต้องเข้าร่วมกิจกรรมลูกเสือ 40 ชั่วโมง ผลการประเมิน ซ่อมเสริม
ต่อปีการศึกษาในระดับประถมศึกษาและมัธยมศึกษา ผ่าน
การประเมินการจัดกิจกรรมลูกเสือตามหลักสูตรแกนกลางการศึกษาขั้นพื้นฐานมีประเด็น/สิ่ง สรุปผลการประเมิน/ ผ่าน
ที่ต้องประเมินดังนี้ ตัดสินผลการเรียนรู้
1. เวลาในการเข้าร่วมกิจกรรม ผู้เรียนต้องมีเวลาเข้าร่วมกิจกรรมตามที่สถานศึกษากําหนด
2. การเรียนรู้ผ่านกิจกรรมหรือการปฏิบัติกิจกรรมอย่างต่อเนื่อง มุ่งเน้นการพัฒนาศกยภาพ
ั
ของตนและการทํางานกลุ่ม รายงาน / สารสนเทศ
3. ผลงาน / ชิ้นงาน / พฤติกรรม / คุณลักษณะของผู้เรียน ที่ปรากฏจากการเรียนรู้หรือการ
เปลี่ยนแปลงตนเอง
จัดพิธีประดับเครื่องหมายลูกเสือ
ตามประเภทลูกเสือ
คู่มือส่งเสริมและพัฒนากิจกรรมลูกเสือทักษะชีวิตในสถานศึกษา ลูกเสือส ารอง ชั้นประถมศึกษาปีที่ 2 113
112 คู่มือส่งเสริมและพัฒนากิจกรรมลูกเสือทักษะชีวิตในสถานศึกษา ลูกเสือส ารอง ชั้นประถมศึกษาปีที่ 2 คู่มือส่งเสริมและพัฒนากิจกรรมลูกเสือทักษะชีวิตในสถานศึกษา ประเภทลูกเสือสำารอง หลักสูตรดวงดาวที่ 2
105
ชั้นประถมศึกษาปีที่ 2

