Page 25 - Навчально-методичний посібник СРС_АІ_Мех.передачі-Дереза
P. 25
непаралельності осей зубчастих коліс відбитки на зубах другого
колеса вийдуть тільки з одного кінця зубів.
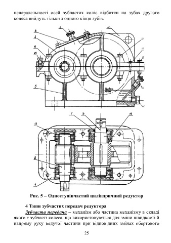
Рис. 5 Одноступінчастий циліндричний редуктор
4 Типи зубчастих передач редуктора
Зубчаста передача механізм або частина механізму в складі
якого є зубчасті колеса, що використовуються для зміни швидкості й
напряму руху ведучої частини при відповідних змінах обертового
25

