Page 205 - APPLIED PROCESS DESIGN FOR CHEMICAL AND PETROCHEMICAL PLANTS, Volume 1, 3rd Edition
P. 205
176 Applied Process Design for Chemical and Petrochemical Plants
FLUSH
%"
PUMP END DRIVE
-----r---'ff'"""-�--..i,.,.....- END
VIKING GEAR SEAL OIL
PUMP TANK
(1.5-2 GPM/ 25 GALLON
PROCESS (LOW MINERAL
PUMP SEAL HOUSING PUMP) OR OTHER
ACCEPT ABLE LOW
VISCOSITY OIL)
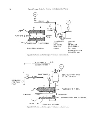
Figure 3-31A. Typical seal flush arrangement for double mechanical seals.
PLANT VENT __ ........
_-(
HEADER SYSTEM
SIGHT GLASS SEAL OIL SUPPLY TANK
FLUSH 2-3 GAL. CAPACITY
%"
DISCHARGE
PIPE FROM
PUMP
DRIVE END
-- LOW PRESSURE SEAL (OUTSIDE)
PUMP SEAL HOUSING
Figure 3-31 B. Typical seal flush arrangement for tandem mechanical seals.

